スポンサーリンク
第二種電気工事士学科試験の4択クイズ 金属管工事
※ページ内にPR・広告が含まれる場合があります。
第二種電気工事士学科試験で出題されている金属管工事について4択クイズ(一問一答)にしてみました。(このページの問題は、ほぼ2択ですが…。)
選択肢の中から答えを選ぶと解説も表示されるようになっているので、ちょっとした練習問題としても使えるんじゃないかなと思います。
スマホでもできるので(たぶん)、休憩時間やちょっと時間があいたときなど、スキマ時間にポチポチやってみるのもいいかもです。
また、このページの4択クイズをやってみて、
ぜんぜん分かんない!
というときは、こちらの金属管工事のページを一度読んでみてからやってみてください。
一度読んでからなら、そこそこいけると思います。
スポンサーリンク
金属管工事の4択クイズ
問題1
「使用電圧200Vの三相電動機回路の施工において、金属管工事に屋外用ビニル絶縁電線を使用した。」
この施工方法は、適切か?不適切か?
正解!
はずれ!
解説
正解は、不適切です。
金属管工事で使える電線は、屋外用ビニル絶縁電線(OW)以外の絶縁電線です。問題の施工方法は、金属管工事に屋外用ビニル絶縁電線(OW)を使っているので、不適切になります。
問題2
「使用電圧200Vの三相電動機回路の施工において、金属管工事に600Vビニル絶縁電線を使用した。」
この施工方法は、適切か?不適切か?
正解!
はずれ!
解説
正解は、適切です。
金属管工事で使える電線は、屋外用ビニル絶縁電線(OW)以外の絶縁電線です。問題の施工方法は、金属管工事に600Vビニル絶縁電線(屋外用ビニル絶縁電線(OW)以外の絶縁電線)を使っているので、適切です。
問題3
「金属管工事による低圧屋内配線の施工において、太さ25mmの薄鋼電線管相互の接続にコンビネーションカップリングを使用した。」
この施工方法は、適切か?不適切か?
正解!
はずれ!
解説
正解は、不適切です。
薄鋼電線管相互を接続するときはカップリングを使うので、問題の施工方法は不適切になります。

コンビネーションカップリングは、種類が異なる電線管を接続するときに使う材料です。

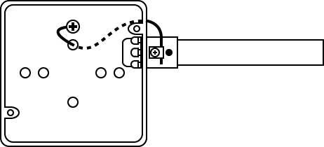
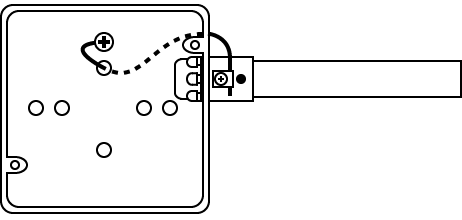
問題4
①で示す部分の工事方法で、施工できない工事方法は?
ただし、配線図の建物は木造2階建て住宅とする。

正解!
はずれ!
解説
正解は、金属管工事です。
①で示す部分は、木造住宅の低圧屋側電線路です。

木造の建物の低圧屋側電線路の工事は、
- がいし引き工事
- 合成樹脂管工事
- ケーブル工事(鉛被ケーブル、アルミ被ケーブル、MIケーブルを除く)
のいずれかでなければなりません。なので、木造の建物の低圧屋側電線路では、金属管工事はできません。
問題5
「木造住宅の金属板張り(金属系サイディング)の壁を貫通する部分の低圧屋内配線工事において、金属管工事とし、壁に小径の穴を開け、金属板張りと金属管とを接触させ金属管を貫通施工した。」
この施工方法は、適切か?不適切か?
ただし、金属管工事に使用する電線は、600Vビニル絶縁電線とする。
正解!
はずれ!
解説
正解は、不適切です。
金属管がメタルラス張り、ワイヤラス張り、金属板張りの木造の造営材を貫通するときは、貫通部分のメタルラスなどを十分に切り開き、耐久性のある絶縁管など(合成樹脂管など)に収めて絶縁しなければなりません。

問題の施工方法は、金属板張りと金属管とを接触させているので、不適切になります。
スポンサーリンク
スポンサーリンク
問題6
「木造住宅の金属板張り(金属系サイディング)の壁を貫通する部分の低圧屋内配線工事において、金属管工事とし、壁の金属板張りと電気的に完全に接続された金属管にD種接地工事を施し、貫通施工した。」
この施工方法は、適切か?不適切か?
ただし、金属管工事に使用する電線は、600Vビニル絶縁電線とする。
正解!
はずれ!
解説
正解は、不適切です。
金属管がメタルラス張り、ワイヤラス張り、金属板張りの木造の造営材を貫通するときは、貫通部分のメタルラスなどを十分に切り開き、耐久性のある絶縁管など(合成樹脂管など)に収めて絶縁しなければなりません。

問題の施工方法は、壁の金属板張りと金属管を電気的に完全に接続させているので、不適切になります。
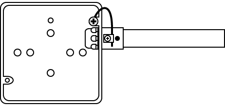
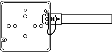
問題7
金属管工事で金属管とアウトレットボックスとを電気的に接続する方法として、施工上、最も適切なものは?
正解!
はずれ!
解説
正解は、

です。
金属管(ねじなし電線管)とアウトレットボックスを電気的に接続するときは、ボンド線の片端をアウトレットボックスの4mmのねじ穴にねじ止めし、もう片端をねじなしボックスコネクタの接地用の端子にねじ止めします。

このように接続すると、金属管(ねじなし電線管)とアウトレットボックスが電気的に接続されます。
金属管と金属製ボックスや、金属管相互を電気的に接続するときに使う裸電線(絶縁被覆がない電線)をボンド線といいます。
ちなみに、次の写真はアウトレットボックスの向きなどが問題の図とは異なりますが、金属管(ねじなし電線管)とアウトレットボックスを電気的に接続した例です。

問題8
電磁的不平衡を生じないように、電線を金属管に挿入する方法として適切なものは?
正解!
はずれ!
解説
正解は、

です。
電磁的不平衡を生じないようにするためには、1回路の電線全てを同一の金属管に通します。例えば、1Φ2W(単相2線式)の場合は、

とし、3Φ3W(三相3線式)の場合は、

とします。
ちなみに、電磁的不平衡が生じると、金属管が発熱したり、うなり音を発したりします。
問題9
「乾燥した場所に施設する単相3線式100/200V(対地電圧100V)配線の電線を収めた長さ7mの金属管」
この金属管のD種接地工事は、省略できるか?省略できないか?
正解!
はずれ!
解説
正解は、省略できるです。
対地電圧が150V以下で、長さが8m以下の金属管を乾燥した場所に施設する場合、金属管のD種接地工事を省略できます。

問題10
「使用電圧200Vの三相電動機回路の施工において、乾燥した場所の金属管工事で、管の長さが3mなので金属管のD種接地工事を省略した。」
この施工方法は、適切か?不適切か?
正解!
はずれ!
解説
正解は、適切です。
長さが4m以下の金属管を乾燥した場所に施設する場合、金属管のD種接地工事を省略できます。

問題の金属管の長さは3m(4m以下)で、乾燥した場所に施設されるので、D種接地工事を省略できます。なので、問題の施工方法は適切です。
問題11
「三相3線式200Vの金属管工事で、電線を収める管の全長が10mの金属管」
この金属管のD種接地工事は、省略できるか?省略できないか?
ただし、簡易接触防護措置を施した乾燥した場所に施設する低圧屋内配線工事であるものとする。
正解!
はずれ!
解説
正解は、省略できないです。
三相3線式200Vの対地電圧は150Vを超えるので、金属管のD種接地工事を省略できるのは、金属管の長さが4m以下で乾燥した場所に施設する場合です。

問題の金属管は乾燥した場所に施設されますが、金属管の長さが10m(4mを超える)なので、D種接地工事を省略できません。
三相3線式200Vの対地電圧は200Vです。
スポンサーリンク
スポンサーリンク
第二種電気工事士学科試験の4択クイズのまとめページ(一覧)はこちら
⇒ 第二種電気工事士学科試験の4択クイズ
2025年度の学科試験対策におすすめです!
このページで使用している写真は、一部を除き、(一財)電気技術者試験センターが作成した第二種電気工事士学科試験の試験問題に掲載されている写真です。
このページの問題文には、(一財)電気技術者試験センターが作成した第二種電気工事士学科試験の試験問題から一部抜粋した文章を使用しています。
スポンサーリンク
第二種電気工事士学科試験の4択クイズ 金属管工事 関連ページ
- 4択クイズ 鑑別 スイッチ
- 第二種電気工事士学科試験の鑑別問題で出題されている内容について4択クイズ(一問一答)にしてみました。スマホでもできるので(たぶん)、ちょっとしたスキマ時間などにポチポチやってみるのもいいかもです。このページは「スイッチ」についての4択クイズです。
- 4択クイズ 鑑別 コンセント
- 第二種電気工事士学科試験の鑑別問題で出題されている内容について4択クイズ(一問一答)にしてみました。スマホでもできるので(たぶん)、ちょっとしたスキマ時間などにポチポチやってみるのもいいかもです。このページは「コンセント」についての4択クイズです。
- 4択クイズ 鑑別 遮断器と開閉器
- 第二種電気工事士学科試験の鑑別問題で出題されている内容について4択クイズ(一問一答)にしてみました。スマホでもできるので(たぶん)、ちょっとしたスキマ時間などにポチポチやってみるのもいいかもです。このページは「遮断器と開閉器」についての4択クイズです。
- 4択クイズ 鑑別 照明器具
- 第二種電気工事士学科試験の鑑別問題で出題されている内容について4択クイズ(一問一答)にしてみました。スマホでもできるので(たぶん)、ちょっとしたスキマ時間などにポチポチやってみるのもいいかもです。このページは「照明器具」についての4択クイズです。
- 4択クイズ 鑑別 電線管工事で使う材料
- 第二種電気工事士学科試験の鑑別問題で出題されている内容について4択クイズ(一問一答)にしてみました。スマホでもできるので(たぶん)、ちょっとしたスキマ時間などにポチポチやってみるのもいいかもです。このページは「電線管工事で使う材料」についての4択クイズです。
- 4択クイズ 鑑別 電線・ケーブルと電線を接続する材料
- 第二種電気工事士学科試験の鑑別問題で出題されている内容について4択クイズ(一問一答)にしてみました。スマホでもできるので(たぶん)、ちょっとしたスキマ時間などにポチポチやってみるのもいいかもです。このページは「電線・ケーブルと電線を接続する材料」についての4択クイズです。
- 4択クイズ 鑑別 その他の機器・器具・材料
- 第二種電気工事士学科試験の鑑別問題で出題されている内容について4択クイズ(一問一答)にしてみました。スマホでもできるので(たぶん)、ちょっとしたスキマ時間などにポチポチやってみるのもいいかもです。このページは「その他の機器・器具・材料」についての4択クイズです。
- 4択クイズ 鑑別 電気工事で使う工具
- 第二種電気工事士学科試験の鑑別問題で出題されている内容について4択クイズ(一問一答)にしてみました。スマホでもできるので(たぶん)、ちょっとしたスキマ時間などにポチポチやってみるのもいいかもです。このページは「電気工事で使う工具」についての4択クイズです。
- 4択クイズ 鑑別 測定器
- 第二種電気工事士学科試験の鑑別問題で出題されている内容について4択クイズ(一問一答)にしてみました。スマホでもできるので(たぶん)、ちょっとしたスキマ時間などにポチポチやってみるのもいいかもです。このページは「測定器」についての4択クイズです。
- 4択クイズ 接地工事
- 第二種電気工事士学科試験で出題されている「接地工事」について4択クイズ(一問一答)にしてみました。スマホでもできるので(たぶん)、ちょっとしたスキマ時間などにポチポチやってみるのもいいかもです。
- 4択クイズ ケーブル工事
- 第二種電気工事士学科試験で出題されている「ケーブル工事」について4択クイズ(一問一答)にしてみました。スマホでもできるので(たぶん)、ちょっとしたスキマ時間などにポチポチやってみるのもいいかもです。
- 4択クイズ 地中埋設工事
- 第二種電気工事士学科試験で出題されている「地中埋設工事」について4択クイズ(一問一答)にしてみました。スマホでもできるので(たぶん)、ちょっとしたスキマ時間などにポチポチやってみるのもいいかもです。
- 4択クイズ 金属可とう電線管工事
- 第二種電気工事士学科試験で出題されている「金属可とう電線管工事」について4択クイズ(一問一答)にしてみました。スマホでもできるので(たぶん)、ちょっとしたスキマ時間などにポチポチやってみるのもいいかもです。
- 4択クイズ 合成樹脂管工事
- 第二種電気工事士学科試験で出題されている「合成樹脂管工事」について4択クイズ(一問一答)にしてみました。スマホでもできるので(たぶん)、ちょっとしたスキマ時間などにポチポチやってみるのもいいかもです。
- 4択クイズ 金属線ぴ工事
- 第二種電気工事士学科試験で出題されている「金属線ぴ工事」について4択クイズ(一問一答)にしてみました。スマホでもできるので(たぶん)、ちょっとしたスキマ時間などにポチポチやってみるのもいいかもです。
- 4択クイズ 金属・フロア・ライティングダクト工事
- 第二種電気工事士学科試験で出題されている「金属ダクト工事、フロアダクト工事、ライティングダクト工事」について4択クイズ(一問一答)にしてみました。スマホでもできるので(たぶん)、ちょっとしたスキマ時間などにポチポチやってみるのもいいかもです。
- 4択クイズ ネオン放電灯工事
- 第二種電気工事士学科試験で出題されている「ネオン放電灯工事」について4択クイズ(一問一答)にしてみました。スマホでもできるので(たぶん)、ちょっとしたスキマ時間などにポチポチやってみるのもいいかもです。
- 4択クイズ ショウウィンドー・ショウケース内工事
- 第二種電気工事士学科試験で出題されている「ショウウィンドー・ショウケース内工事」について4択クイズ(一問一答)にしてみました。スマホでもできるので(たぶん)、ちょっとしたスキマ時間などにポチポチやってみるのもいいかもです。
- 4択クイズ 小勢力回路の工事
- 第二種電気工事士学科試験で出題されている「小勢力回路の工事」について4択クイズ(一問一答)にしてみました。スマホでもできるので(たぶん)、ちょっとしたスキマ時間などにポチポチやってみるのもいいかもです。
- 4択クイズ 低圧屋内配線工事と施工できる場所
- 第二種電気工事士学科試験で出題されている「低圧屋内配線工事と施工できる場所」について4択クイズ(一問一答)にしてみました。スマホでもできるので(たぶん)、ちょっとしたスキマ時間などにポチポチやってみるのもいいかもです。
- 4択クイズ 特殊な場所の工事と施工できる場所
- 第二種電気工事士学科試験で出題されている「特殊な場所の工事と施工できる場所」について4択クイズ(一問一答)にしてみました。スマホでもできるので(たぶん)、ちょっとしたスキマ時間などにポチポチやってみるのもいいかもです。
- 4択クイズ 三相誘導電動機のスターデルタ始動法
- 第二種電気工事士学科試験で出題されている「三相誘導電動機のスターデルタ始動法」について4択クイズ(一問一答)にしてみました。スマホでもできるので(たぶん)、ちょっとしたスキマ時間などにポチポチやってみるのもいいかもです。
- 4択クイズ 三相誘導電動機を逆回転させる方法
- 第二種電気工事士学科試験で出題されている「三相誘導電動機を逆回転させる方法」について4択クイズ(一問一答)にしてみました。スマホでもできるので(たぶん)、ちょっとしたスキマ時間などにポチポチやってみるのもいいかもです。
- 4択クイズ 三相誘導電動機の力率改善
- 第二種電気工事士学科試験で出題されている「三相誘導電動機の力率改善」について4択クイズ(一問一答)にしてみました。スマホでもできるので(たぶん)、ちょっとしたスキマ時間などにポチポチやってみるのもいいかもです。
- 4択クイズ 計器に表示されている記号
- 第二種電気工事士学科試験で出題されている「計器に表示されている記号」について4択クイズ(一問一答)にしてみました。スマホでもできるので(たぶん)、ちょっとしたスキマ時間などにポチポチやってみるのもいいかもです。
- 4択クイズ 電圧、電流、電力、力率の測定回路
- 第二種電気工事士学科試験で出題されている「電圧、電流、電力、力率の測定回路」について4択クイズ(一問一答)にしてみました。スマホでもできるので(たぶん)、ちょっとしたスキマ時間などにポチポチやってみるのもいいかもです。
- 4択クイズ クランプ形の電流計による電流の測定
- 第二種電気工事士学科試験で出題されている「クランプ形の電流計による電流の測定」について4択クイズ(一問一答)にしてみました。スマホでもできるので(たぶん)、ちょっとしたスキマ時間などにポチポチやってみるのもいいかもです。
- 4択クイズ 接地抵抗計と接地抵抗の測定方法
- 第二種電気工事士学科試験で出題されている「接地抵抗計と接地抵抗の測定方法」について4択クイズ(一問一答)にしてみました。スマホでもできるので(たぶん)、ちょっとしたスキマ時間などにポチポチやってみるのもいいかもです。
- 4択クイズ 絶縁抵抗計と絶縁抵抗の測定
- 第二種電気工事士学科試験で出題されている「絶縁抵抗計と絶縁抵抗の測定」について4択クイズ(一問一答)にしてみました。スマホでもできるので(たぶん)、ちょっとしたスキマ時間などにポチポチやってみるのもいいかもです。
- 4択クイズ 回路計(テスタ)
- 第二種電気工事士学科試験で出題されている「回路計(テスタ)」について4択クイズ(一問一答)にしてみました。スマホでもできるので(たぶん)、ちょっとしたスキマ時間などにポチポチやってみるのもいいかもです。
- 4択クイズ 検電器
- 第二種電気工事士学科試験で出題されている「検電器」について4択クイズ(一問一答)にしてみました。スマホでもできるので(たぶん)、ちょっとしたスキマ時間などにポチポチやってみるのもいいかもです。
- 4択クイズ 竣工検査
- 第二種電気工事士学科試験で出題されている「竣工検査」について4択クイズ(一問一答)にしてみました。スマホでもできるので(たぶん)、ちょっとしたスキマ時間などにポチポチやってみるのもいいかもです。
- 4択クイズ 電気設備技術基準・解釈
- 第二種電気工事士学科試験で出題されている「電気設備技術基準・解釈」について4択クイズ(一問一答)にしてみました。スマホでもできるので(たぶん)、ちょっとしたスキマ時間などにポチポチやってみるのもいいかもです。
- 4択クイズ 電気事業法
- 第二種電気工事士学科試験で出題されている「電気事業法」について4択クイズ(一問一答)にしてみました。スマホでもできるので(たぶん)、ちょっとしたスキマ時間などにポチポチやってみるのもいいかもです。
- 4択クイズ 電気工事士法
- 第二種電気工事士学科試験で出題されている「電気工事士法」について4択クイズ(一問一答)にしてみました。スマホでもできるので(たぶん)、ちょっとしたスキマ時間などにポチポチやってみるのもいいかもです。
- 4択クイズ 電気工事業法
- 第二種電気工事士学科試験で出題されている「電気工事業法(電気工事業の業務の適正化に関する法律)」について4択クイズ(一問一答)にしてみました。スマホでもできるので(たぶん)、ちょっとしたスキマ時間などにポチポチやってみるのもいいかもです。
- 4択クイズ 電気用品安全法
- 第二種電気工事士学科試験で出題されている「電気用品安全法」について4択クイズ(一問一答)にしてみました。スマホでもできるので(たぶん)、ちょっとしたスキマ時間などにポチポチやってみるのもいいかもです。
- 4択クイズ 電線の許容電流
- 第二種電気工事士学科試験で出題されている「電線の許容電流」について4択クイズ(一問一答)にしてみました。スマホでもできるので(たぶん)、ちょっとしたスキマ時間などにポチポチやってみるのもいいかもです。
- 4択クイズ 幹線の太さを決める根拠となる電流の最小値
- 第二種電気工事士学科試験で出題されている「幹線の太さを決める根拠となる電流の最小値」について4択クイズ(一問一答)にしてみました。スマホでもできるので(たぶん)、ちょっとしたスキマ時間などにポチポチやってみるのもいいかもです。
- 4択クイズ 分岐回路の開閉器および過電流遮断器の施設
- 第二種電気工事士学科試験で出題されている「分岐回路の開閉器および過電流遮断器の施設」について4択クイズ(一問一答)にしてみました。スマホでもできるので(たぶん)、ちょっとしたスキマ時間などにポチポチやってみるのもいいかもです。
- 4択クイズ 配線の図記号
- 第二種電気工事士学科試験で出題されている「配線の図記号」について4択クイズ(一問一答)にしてみました。スマホでもできるので(たぶん)、ちょっとしたスキマ時間などにポチポチやってみるのもいいかもです。
- 4択クイズ 絶縁電線・ケーブルの記号
- 第二種電気工事士学科試験で出題されている「絶縁電線・ケーブルの記号」について4択クイズ(一問一答)にしてみました。スマホでもできるので(たぶん)、ちょっとしたスキマ時間などにポチポチやってみるのもいいかもです。
- 4択クイズ 電線管・ダクトの記号
- 第二種電気工事士学科試験で出題されている「電線管・ダクトの記号」について4択クイズ(一問一答)にしてみました。スマホでもできるので(たぶん)、ちょっとしたスキマ時間などにポチポチやってみるのもいいかもです。
- 4択クイズ スイッチの図記号
- 第二種電気工事士学科試験で出題されている「スイッチの図記号」について4択クイズ(一問一答)にしてみました。スマホでもできるので(たぶん)、ちょっとしたスキマ時間などにポチポチやってみるのもいいかもです。
- 4択クイズ コンセントの図記号
- 第二種電気工事士学科試験で出題されている「コンセントの図記号」について4択クイズ(一問一答)にしてみました。スマホでもできるので(たぶん)、ちょっとしたスキマ時間などにポチポチやってみるのもいいかもです。
- 4択クイズ 遮断器と開閉器の図記号
- 第二種電気工事士学科試験で出題されている「遮断器と開閉器の図記号」について4択クイズ(一問一答)にしてみました。スマホでもできるので(たぶん)、ちょっとしたスキマ時間などにポチポチやってみるのもいいかもです。
- 4択クイズ 照明器具の図記号
- 第二種電気工事士学科試験で出題されている「照明器具の図記号」について4択クイズ(一問一答)にしてみました。スマホでもできるので(たぶん)、ちょっとしたスキマ時間などにポチポチやってみるのもいいかもです。
- 4択クイズ 電気機器・計器の図記号
- 第二種電気工事士学科試験で出題されている「電気機器・計器の図記号」について4択クイズ(一問一答)にしてみました。スマホでもできるので(たぶん)、ちょっとしたスキマ時間などにポチポチやってみるのもいいかもです。
- 4択クイズ ボックスなどその他の図記号
- 第二種電気工事士学科試験で出題されている「ボックスなどその他の図記号」について4択クイズ(一問一答)にしてみました。スマホでもできるので(たぶん)、ちょっとしたスキマ時間などにポチポチやってみるのもいいかもです。
- 4択クイズ コンセントの刃受の形状(極配置)
- 第二種電気工事士学科試験で出題されている「コンセントの刃受の形状(極配置)」について4択クイズ(一問一答)にしてみました。スマホでもできるので(たぶん)、ちょっとしたスキマ時間などにポチポチやってみるのもいいかもです。
- 4択クイズ 最少電線本数(心線数)
- 第二種電気工事士学科試験で出題されている「最少電線本数(心線数)」について4択クイズ(一問一答)にしてみました。スマホでもできるので(たぶん)、ちょっとしたスキマ時間などにポチポチやってみるのもいいかもです。
- 4択クイズ 配線工事に必要なケーブル
- 第二種電気工事士学科試験で出題されている「配線工事に必要なケーブル」について4択クイズ(一問一答)にしてみました。スマホでもできるので(たぶん)、ちょっとしたスキマ時間などにポチポチやってみるのもいいかもです。
- 4択クイズ 差込形コネクタの種類と最少個数の組合せ
- 第二種電気工事士学科試験で出題されている「使用する差込形コネクタの種類と最少個数の組合せ」について4択クイズ(一問一答)にしてみました。スマホでもできるので(たぶん)、ちょっとしたスキマ時間などにポチポチやってみるのもいいかもです。
- 4択クイズ リングスリーブの種類と最少個数の組合せ
- 第二種電気工事士学科試験で出題されている「使用するリングスリーブの種類と最少個数の組合せ」について4択クイズ(一問一答)にしてみました。スマホでもできるので(たぶん)、ちょっとしたスキマ時間などにポチポチやってみるのもいいかもです。
- 4択クイズ リングスリーブの種類、個数、刻印の組合せ
- 第二種電気工事士学科試験で出題されている「使用するリングスリーブの種類、個数および刻印の組合せ」について4択クイズ(一問一答)にしてみました。スマホでもできるので(たぶん)、ちょっとしたスキマ時間などにポチポチやってみるのもいいかもです。

