スポンサーリンク
第二種電気工事士試験の概要
※ページ内にPR・広告が含まれる場合があります。
第二種電気工事士試験は、昔(平成23年度より前)は年1回だけの試験でしたが、平成23年度から試験制度が変更になり、上期試験と下期試験の年2回実施されるようになりました。
また、平成23年度から平成29年度までは同じ年度の上期試験と下期試験の両方を受験することはできませんでしたが(どちらか一方だけ受験可)、平成30年度の試験からは同じ年度の上期試験と下期試験の両方を受験できるようになりました。
令和7年度の試験日程についてはこちらの令和7年度(2025年度)の電気工事士試験日程のページでご確認ください。
第二種電気工事士の試験は学科試験と技能試験の二段階になっていて、まず初めに学科試験を受験します。
この学科試験に合格すると技能試験を受験することができ、学科試験と技能試験の両方に合格すると第二種電気工事士試験に合格となります。
スポンサーリンク
第二種電気工事士の学科試験
第二種電気工事士の学科試験の問題は四肢択一の問題(4択問題)になっていて、各問ごとに解答が4つあり、その中から正解を選びます。
ですので、分からない問題が出題されても、とりあえず何かしらの答えを選んでおけば正解する可能性が25%ありますので、分からない問題をそのままにして試験を終了することはしないようにしましょう。
令和4年度までは問題用紙とマークシートを用いて行う筆記方式の試験のみでしたが、令和5年度の試験から、従来の筆記方式に加えて、パソコンを使って試験を行うCBT方式(Computer Based Testing)が導入されました。CBT方式でも、出題形式はこれまでと同様です。
参考に、本番の筆記方式の試験問題は次のようになっています。

これは過去に出題された筆記方式の試験問題の問1と問2そのまんまですが、左の欄に問題、右の欄に選択する解答が(イ)(ロ)(ハ)(ニ)とあります。ですので、左の問題を解いて、右の(イ)(ロ)(ハ)(ニ)から正しい答えを選べばいいです。
また、試験時間は120分(2時間)で、出題される問題数は50問です。
120分を50問で割ると2.4分なので、1問あたり2.4分(2分24秒)以内で解けばよいことになりますが、学科試験の場合は技能試験と違って試験時間はたっぷりあります!
ほとんどの方は1時間から1時間ちょっとで全問解答して、早めに退出していきます。
もちろん、120分フルに使っても何も問題はありませんので、分からない問題は後回しにして残った時間でじっくり考えればいいと思います。
学科試験の内容としては、次のようなものが出題されます。
(1)電気に関する基礎理論
(2)配電理論及び配線設計
(3)電気機器・配線器具並びに電気工事用の材料及び工具
(4)電気工事の施工方法
(5)一般用電気工作物等の検査方法
(6)配線図
(7)一般用電気工作物等の保安に関する法令
項目をみると難しそうですが、試験勉強を進めていけばだんだんおぼえられますので大丈夫ですよ。
学科試験の勉強方法については、こちらの第二種電気工事士学科試験のおすすめ勉強方法(勉強の進め方)のページを参考にしてみてください。
スポンサーリンク
スポンサーリンク
第二種電気工事士の技能試験
第二種電気工事士の技能試験は受験者の「技能を試す試験」なので、実際に与えられた課題(問題)を施工していきます。
つまり、技能試験は、鉛筆を持って問題を解く学科試験のような試験ではなく、ペンチやドライバーを持ってガシガシ課題を作り上げていく試験です。
試験時間は40分で、学科試験と違って技能試験ではほとんど時間がありません!
この限られた試験時間が技能試験での最大のポイントになります!
とは言っても、技能試験の練習に時間をたっぷりかければ制限時間内にできるようになりますので、時間をかけて練習を積みましょう。
第二種電気工事士技能試験の合否は練習時間に大きく左右されますよ!
それでは次に、技能試験のおおよその流れについて過去に出題された問題(課題)を参考にして説明します。
まず次のような「単線図」という電気の配線について書かれたものが問題用紙に記載されています。

過去に試験で出題された単線図
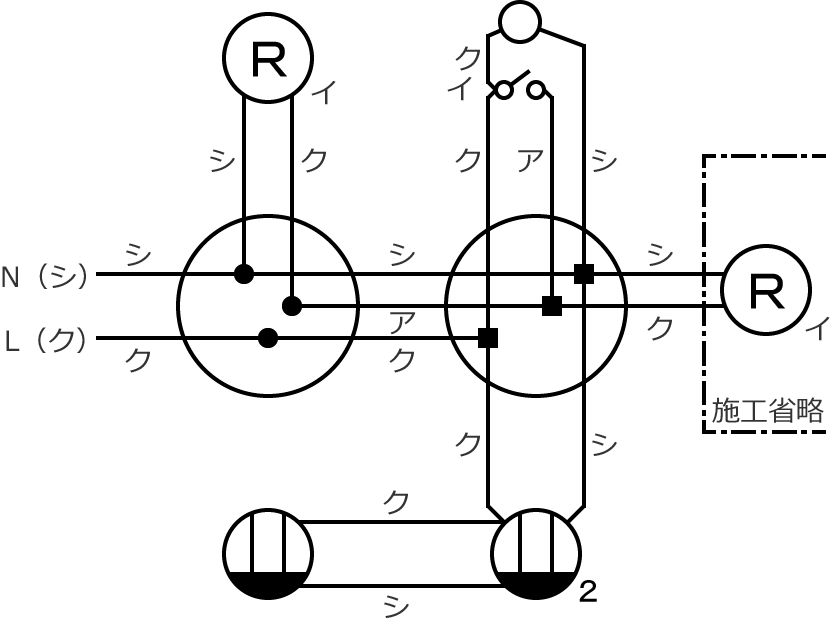
この単線図を「複線図」というものに直します。
「複線図」とは、「単線図」を実際の配線が分かるように配線が2本のところは2本、3本のところは3本の線で書かれた次のような図で、この複線図は自分で書きます。

過去に出題された単線図の複線図
複線図を書くための用紙はもらえないので、複線図は問題用紙のすみっこの余白に書くことになります。
この複線図を間違えてしまうと、できあがる物も違うものになってしまいますので、正確に書けるようになるまで練習する必要があります。
単線図と複線図について詳しくは、こちらの第二種電気工事士の単線図とは?のページを参考にしてみてください。
複線図を書いたら、次は施工(実際に課題を製作するという意味)です。
施工するための材料(ケーブルや器具など)は試験開始前に与えられるので、その材料と自分で用意した(持参した)工具を使って、自分で書いた複線図を見ながら課題を作っていきます。
そして、制限時間(40分)以内に作り上げれば完成となります。
技能試験って大変そうだなぁ、と思うかもしれませんが、技能試験は学科試験と違って、体でおぼえていくものなので、練習すれば自然に体(手)が動くようになります。
技能試験の対策はとにかく練習を積むことですので、学科試験が終わったらすぐに技能試験の練習にとりかかることをおすすめします。
技能試験の勉強方法については、こちらの第二種電気工事士技能試験の勉強の進め方のページを参考にしてみてください。
スポンサーリンク
スポンサーリンク
第二種電気工事士全般についてはこちら
⇒ 第二種電気工事士(総合)
学科試験対策についてはこちら
⇒ 第二種電気工事士(学科試験対策)
技能試験対策についてはこちら
⇒ 第二種電気工事士(技能試験対策)
の各ページを参考にしてみてください。
令和7年度(2025年度)の電気工事士試験日程はこちら
⇒ 令和7年度(2025年度)の電気工事士試験日程
本ページに掲載の問題および単線図は、(一財)電気技術者試験センターが作成した第二種電気工事士試験の問題および単線図です。
平成25年度(2013年度)の電気工事士試験日程 ←BACK
NEXT→ 第二種電気工事士試験の受験者数と合格率の推移
スポンサーリンク
第二種電気工事士試験の概要 関連ページ
- 電気工事士とは?
- 電気工事士の資格と電気工事士として従事できる工事の範囲などについて説明しています。一般用電気工作物等や自家用電気工作物の工事をするためには、「電気工事士」という国家資格を持っていなければ従事できません。
- 令和7年度 電気工事士試験日程
- 令和7年度(2025年度)の第一種電気工事士試験および第二種電気工事士試験の試験日程です。
- 令和6年度 電気工事士試験日程
- 令和6年度(2024年度)の第一種電気工事士試験および第二種電気工事士試験の試験日程です。令和6年度の試験から、第一種電気工事士の試験が、上期試験と下期試験の年2回の実施になりました。
- 受験者数と合格率の推移
- 第二種電気工事士試験の受験申込者数の推移と、学科試験、技能試験の合格率についてまとめてみました。
- 第二種電気工事士下期試験の試験地拡大!
- 平成30年度の試験より、第二種電気工事士試験の試験地が拡大され、下期試験も上期試験と同じように全国47都道府県で受験できるようになりました。
- 60点未満でも学科試験合格?
- 第二種電気工事士の学科試験の合格基準点はいつでも60点以上と思っていませんか?合格基準点の調整(?)で60点未満でも合格する場合があるみたいです。
- 学科試験免除が次々回の試験まで拡大!
- 電気工事士法施行令の一部が改正され、電気工事士試験(第一種電気工事士試験、第二種電気工事士試験)の学科試験が免除される試験範囲が「次々回の試験まで」に拡大されました。

